Сайт в помощь киповцу
KIPIAVP.RU

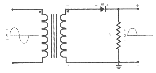
Однополупериодный выпрямитель

Однополупериодный выпрямитель — это устройство или контур, проводящее во время одной половины цикла переменного тока. Однополупериодный выпрямитель состоит из трансформатора, полупроводникового диода (D1) и сопротивления (RL).

Обратите внимание на основы электричества и на приборы электроники.

Принцип действия однополупериодного выпрямителя

В этом примере сопротивление RL представляет нагрузку, хотя, на самом деле, нагрузкой может быть любой элемент или группа элементов, которая может вызвать падение напряжения.

Схема однополупериодного выпрямителя
Схема однополупериодного выпрямителя

В течение первой половины цикла переменного тока диод D1 находится в состоянии прямого подключения — положительный электрический потенциал воздействует на его анод, а отрицательный потенциал воздействует на его катод. Когда D1 находится в состоянии прямого подключения, ток протекает от отрицательной стороны вторичной обмотки трансформатора, через сопротивление нагрузки, через диод, обратно к положительной стороне вторичной обмотки. Поскольку ток протекает через сопротивление нагрузки, в нём происходит падение напряжения; ток, выходящий из выпрямительного контура появляется в виде положительной полуволны на сопротивлении нагрузки.

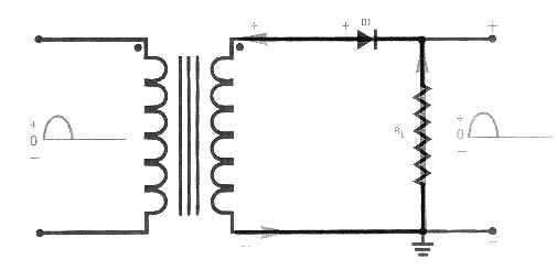
Путь тока через однополупериодный находится в состоянии прямого подключения D1
Путь тока через однополупериодный находится в состоянии прямого подключения D1

В течение второй половины цикла переменного тока диод D1 находится в состоянии обратного подключения — на его анод воздействует отрицательный электрический потенциал, а положительный электрический потенциал воздействует на его катод. Этот диод не проводит, поэтому в сопротивлении нагрузки RL никакое напряжение не присутствует.

Однополупериодный выпрямитель в состоянии обратной проводимости D1
Однополупериодный выпрямитель в состоянии обратной проводимости D1

Как видно по форме кривой, у однополупериодных выпрямителей только одна полуволна постоянного тока на выходе при каждом полном цикле переменного тока на входе. По этой причине в оборудованиях обычно не применяются однополупериодные выпрямители; когда они используются, они обычно устанавливаются в оборудовании или контурах, где требуется ток невысокого напряжения и где колебания напряжения не бывают причиной для беспокойства.

Форма кривой выходного сигнала однополупериодного выпрямителя
Форма кривой выходного сигнала однополупериодного выпрямителя